国内医疗器械产品注册证咨询代理     您当前的位置是:主页 > 产品注册咨询 > 国内医疗器械产品注册证咨询代理 >
 
  二类医疗器械产品注册证办理
  GMP认证咨询
  一类医疗器械产品/生产备案
  三类医疗器械产品注册证办理
  免临床试验资料编写
  医疗器械注册技术要求编写
  医疗器械产品注册标准
  体外诊断试剂注册咨询
 
 
 
医疗器械热湿交换器产品注册证申请风险及研究资料编写咨询代理
  [  2020-07-14 16:28 ]
       热湿交换器医疗器械产品注册申报资料的一般要求,申请人应依据具体产品的特性对注册申报资料的内容进行充实和细化,并依据具体产品的特性确定其中的具体内容是否适用,若不适用,需具体阐述其理由及相应的科学依据。医疗器械注册热湿交换器按《医疗器械分类目录》(国家食品药品监督管理总局公告2017第104号)中管理类别为Ⅱ类的热湿交换器,分类编码为08-05-04(呼吸、麻醉和急救器械-呼吸、麻醉、急救设备辅助装置-热湿交换器)。通常由储水储热材料和壳体组成,包括一个进气口和一个出气口,通过保留患者呼气中部分水分和热量,并在吸气过程中将其返回到呼吸道的器械。用于提高输送给呼吸道的气体中的水分含量和温度。
  产品名称要求
  产品名称应符合《医疗器械通用名称命名规则》(国家食品药品监督管理总局令第19号)的要求,可采用相关国家标准、行业标准上的通用名称,或以产品结构和适用范围为依据命名。如热湿交换器、热湿交换过滤器。根据产品一次性使用或者灭菌情况,产品名称中可带有“一次性使用”或“无菌”字样。
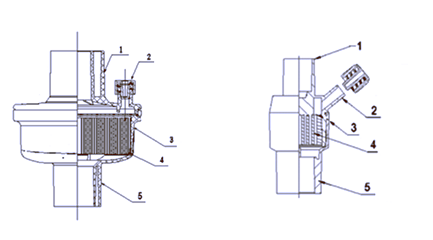
  医疗器械产品注册办理产品的结构和组成
  产品通常由外壳、滤芯(如有)、热湿交换介质和接口等组成。
  产品工作原理
  热湿交换器是一种保温保湿气道管理工具,可以将病人呼出气体中的热量和水分部分地储存起来,再利用这些热量和水分对新进入的气体进行加温及湿化。
  呼气时,来自病人的温湿气体进入热湿交换器的内侧面,湿气凝结,同时释放的热量在热湿交换介质中得以保存。吸气时,外部干燥的气体进入热湿交换器,在热湿交换器内得到湿化和温热,然后进入肺内,如此往复循环,不断利用呼气中的热度和湿度来温热和湿化吸入的气体。
  产品如声称具有过滤功能,应说明过滤作用(如过滤微粒、细菌及病毒过滤等)及其原理。
  医疗器械注册办理产品的主要风险
  1.风险分析方法
  1.1在对风险的判定及分析中,要考虑合理的可预见的情况,它们包括:正常使用条件下;非正常使用条件下;
  1.2风险判定及分析应包括:对于患者的危险(源);对于操作者的危险(源);对于环境的危险(源);
  1.3风险形成的初始原因应包括:人为因素包括不合理的操作;产品结构、原材料、综合危险(源);环境条件;
  1.4风险判定及分析考虑的问题包括:产品原材料生物学危险(源);产品质量是否会导致使用中出现不正常结果;操作信息,包括警示性语言、注意事项以及使用方法的准确性;使用可能存在的危险(源)等。
  2.风险分析清单
  热湿交换器产品的风险管理报告应符合YY/T 0316-2016《医疗器械风险管理对医疗器械的应用》的有关要求,审查要点包括:
  2.1产品安全性特征判定是否准确(依据YY/T 0316-2016附录C);
  2.2危险(源)分析是否全面(依据YY/T 0316-2016附录E);
  2.3风险可接收准则,降低风险的措施及采取措施后风险的可接收程度,是否有新的风险产生。
  医疗器械注册代理根据YY/T 0316-2016《医疗器械 风险管理对医疗器械的应用》附录E对“热湿交换器产品”已知或可预见的风险进行判定,产品在进行风险分析时至少应包括以下的主要危险(源),企业还应根据自身产品特点确定其他危险(源)。针对产品的各项风险,企业应采取应对措施,确保风险降到可接受的程度。
表2 产品主要危险(源)
危险(源)的分类 危险(源)的形成因素 可能的后果
生物学危险(源) 生物污染 生产环境控制不好。灭菌操作不严格。包装破损。使用时操作不正规。 产品带菌,引起患者使用时感染。
生物不相容性 增塑剂、加工助剂、
环氧乙烷残留量超标
产生细胞毒性、致敏反应、急性或慢性毒性。
不正确的配方(化学成分) 未按照工艺要求配料。小分子物质残留量过大。 造成毒性危害。
加工工艺 加工工艺控制不严格,后处理工艺控制不严格。 引入有害物质,引起患者感染或造成毒性危害。
再感染和/或交叉感染 使用不当、标识不清。 引起局部或者交叉感染。
环境危险(源) 储存或运行偏离预定的环境条件 储运条件(如温度、湿度)不符合要求。 产品老化。
无菌有效期缩短。
意外的机械破坏 储运、使用过程中发生意外的机械性破坏。 产品使用性能无法得到保证。
由于废物和/或医疗器械处置的污染 使用后的产品没有按照要求集中销毁。 造成环境污染或者细菌的交叉感染。
与医疗器械使用有关的危险(源) 不适当的标记 标记不清晰、错误、
没有按照要求进行标记。
错误使用。
储存错误。
产品辨别错误。
不适当的操作说明,如:
与其他器械配合使用不适当;偏离使用说明;说明书关于使用说明不全面
包装破损无法识别。
操作要点不突出。
 
无法保证使用安全性。
导致操作失误。
由不熟练/未经培训的人员使用 操作不熟练、操作失误。 导致延误或不正确治疗。
合理可预见的误用 规格型号选用错误。 导致无法达到满意的效果。
对一次性使用医疗器械很可能再次使用的危险(源)警告不适当 造成重复使用。 交叉感染。
不适当不合适或过于复杂的使用者接口 违反或缩减说明书、程序等 操作方法、注意事项、储存方法、警示事项等表述不清。 重复使用引起感染。
没有集中销毁造成环境污染等。
功能性失效、老化引起的危险(源) 对医疗器械寿命终止缺少适当的决定 没有标识产品有效期。 超出灭菌有效期的产品被使用,造成细菌感染。
不适当的包装(医疗器械的污染和/或变质) 没有进行包装确认。 不能确保产品无菌,从而导致出现细菌感染。
再次使用和/或不适当的再次使用 产品标识没有明确只限一次性使用。 出现细菌感染、交叉感染以及粘膜损伤等现象。
 
  医疗器械注册产品的研究要求
  1.产品性能研究
  应详述产品技术要求中主要性能指标及检验方法的确定依据,提供采用的原因及理论基础,提供涉及的研究性资料、文献资料和标准文本。如适用的国家标准、行业标准中有不采纳的条款,应将不采纳的条款及其理由予以阐明。
  应研究的产品基本性能至少包括YY/T 0735.1-2009或YY/T 0735.2-2010规定的性能。
  对于声称产品具有过滤功能的,企业应提出相应安全性、有效性的要求。
  潮气量小于250mL的热湿交换器,申请人应确定评价方法或者参考YY/T 0735.1-2009或YY/T 0735.2-2010,并调整试验参数。
  2.医疗器械产品注册生物相容性研究
  应描述热湿交换器与人体间接接触部件的材料,以及接触的性质和时间,参照《关于印发医疗器械生物学评价和审评指南的通知》(国食药监械〔2007〕345号)、GB/T 16886.1-2011《医疗器械生物学评价 第1部分:风险管理过程中的评价与试验》的要求对其进行生物相容性评价。
  3.灭菌工艺及洁净控制工艺研究
  3.1医疗器械产品注册证申请按GB 18278.1-2015《医疗保健品灭菌 湿热 第1部分:医疗器械灭菌过程的开发、确认和常规控制要求》、GB 18279.1-2015《医疗保健产品灭菌 环氧乙烷 第1部分:医疗器械灭菌过程的开发、确认和常规控制的要求》、GB/T 18279.2-2015《医疗保健产品的灭菌 环氧乙烷 第2部分:GB 18279.1应用指南》、GB 18280.1-2015《医疗器械保健产品灭菌 辐射 第1部分:医疗器械灭菌过程的开发、确认和常规控制要求》、GB 18280.2-2015《医疗保健产品灭菌 辐射 第2部分:建立灭菌剂量》、GB/T 18280.3-2015《医疗保健产品灭菌 辐射 第3部分:剂量测量指南》、GB 18281.2-2015《医疗保健产品灭菌 生物指示物 第2部分:环氧乙烷灭菌用生物指示物》、GB/T 19633.1-2015《最终灭菌医疗器械包装 第1部分:材料、无菌屏障系统和包装系统的要求》、GB/T 19633.2-2015《最终灭菌医疗器械包装 第2部分:成形、密封和装配过程确认的要求》、YY/T 1267-2015《适用于环氧乙烷灭菌的医疗器械的材料评价》或者适用其他灭菌方式材料评价的标准、YY/T 0698系列标准等要求提交灭菌研究资料。
  医疗器械注册代理如果灭菌方式会导致有害物质残留,应进行相关评价。如热湿交换介质等易吸附环氧乙烷,环氧乙烷残留量超标会产生相应危害。
  3.2洁净供应的热湿交换器微生物限度、环境及管理要求及检查方法可结合申报产品的危险性程度和临床使用最不利情况参照GB 15982-2012《医院消毒卫生标准》及《中华人民共和国药典》提交研究资料。
  4.效期和包装研究
  4.1产品有效期和包装研究情况可通过实时老化或加速老化试验获得。加速老化试验可参照YY/T 0681和YY/T 0698系列标准、GB/T 19633.1-2015《最终灭菌医疗器械包装 第1部分:材料、无菌屏障系统和包装系统的要求》、GB/T 19633.2-2015《最终灭菌医疗器械包装 第2部分:成形、密封和装配过程的确认的要求》。使用的包装材料为医用级别。
  4.2医疗器械注册证申请人应提交包装研究资料,依据有关国内、国际标准进行(如GB/T 19633.1、GB/T 19633.2、ISO 11607、ASTM F2475、ASTM D4169等)对包装进行分析研究和评价。直接接触产品的包装材料的选择应至少考虑以下因素:包装材料的物理化学性能;包装材料的毒理学特性;包装材料与产品的适应性;包装材料与成型和密封过程的适应性;包装材料与灭菌或洁净控制过程的适应性;包装材料所能提供的物理、化学和微生物屏障保护;包装材料与使用者使用时的要求(如无菌开启)的适应性;包装材料与标签系统的适应性;包装材料与贮存运输过程的适应性。

        深圳鸿远医疗器械咨询有限公司是一家技术专业的医疗器械咨询公司,专注提供全国各地如:深圳、广州、东莞、中山、佛山、潮州、顺德、上海、西安、重庆、成都等知名城市的医疗器械领域技术咨询服务。鸿远医疗器械注册咨询专业服务于:医疗器械产品注册证、医疗器械生产许可证、进口医疗器械注册、体外诊断试剂注册代办理咨询、一类医疗器械产品备案及生产备案代办、医疗器械经营许可证代办、二类医疗器械经营备案、CE认证、ISO13485认证、FDA注册、临床试验、医疗器械质量管理体系认证及体系建立与过程确认文件建立(ISO9001, ISO13485, GMP, CE,QSR820,CMDCAS);产品技术要求制订、技术文件、临床试验及免临床同类产品比对比资料编写、注册资料编写辅导、电磁兼容预测整改、医疗器械广告批文申报、医疗器械出口销售证明办理、洁净室建设指导等提供一站式服务,技术专业,诚信服务,欢迎您咨询!   
版权所有:深圳鸿远医疗器械咨询有限公司
联系电话:13590396780 13828736093 邮箱:1347626962@qq.com 网址:http://www.hongyuanyixiezixun.com
粤ICP备15056156号 建议使用1024*768分辨率, IE5.5以上版本浏览器


客户服务热线
13590396780